337 Regional Rd. 8 Road, Uxbridge, Ontario

$3,500,000

Previous Next

About 337 Regional Rd. 8 Road

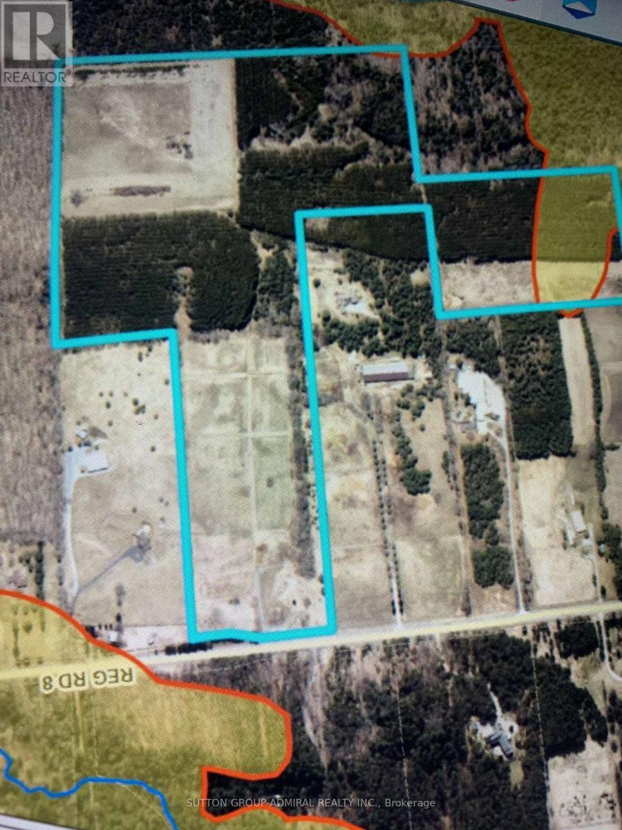
Prime 75-acre farm in Rural Uxbridge, ideal for investors or custom home builders. Features include 28 acres of farmland rented to farmers to grow crops, a rented 2,000 sq ft metal building, well water, electricity. Strategically located north of Goodwood, between Uxbridge and Stouffville, with easy access to Highways 404 and 407. The property offers cleared land, forests with trails, paddocks, and low maintenance. Excellent investment with current income and future development potential (commercial or residential). Client willing to provide VTB. (id:6289)

Features of 337 Regional Rd. 8 Road

Listing # N12157165
Price $3,500,000
Bathrooms 0.00
Acres 0.00
Type Vacant Land

Community Information

Address 337 Regional Rd. 8 Road
Subdivision Rural Uxbridge
City Uxbridge
Province Ontario
Postal Code L9P1R1

Amenities

Utilities Electricity
Features Irregular lot size
Parking No Garage
Is Waterfront No
Has Pool No

Interior

Heating Other
Fireplace No
Has Basement No

Exterior

Lot Description 577 x 1287 FT ; 74.742 Acres|50 - 100 acres

Listing Details

OfficeSUTTON GROUP-ADMIRAL REALTY INC.

Listing Map

Request a Showing

Provide a valid email address.
When would you like to view this property?